產品名稱:稱重傳感器,平行梁式稱重傳感器,電子秤傳感器
產品型號:CAZF-W70
特點與用途:
- 鋁合金材質
- 應變式原理
- 結構小巧
- 抗偏載能力強
- 精度高
- 適用于小量程稱重、測力測試與控制系統
- 推薦臺面尺寸:120×120mm
技術參數:

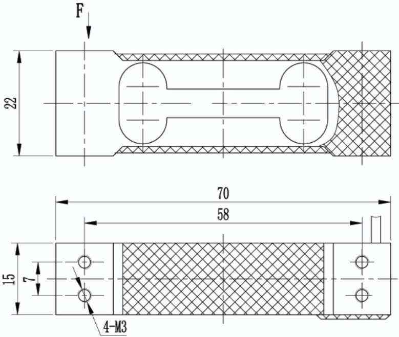
外形尺寸:

受力方式:

接線方式:


咨詢熱線0755-23406601


產品名稱:稱重傳感器,平行梁式稱重傳感器,電子秤傳感器
產品型號:CAZF-W70
特點與用途:
技術參數:

外形尺寸:

受力方式:

接線方式:

技術支持:滄正傳感|